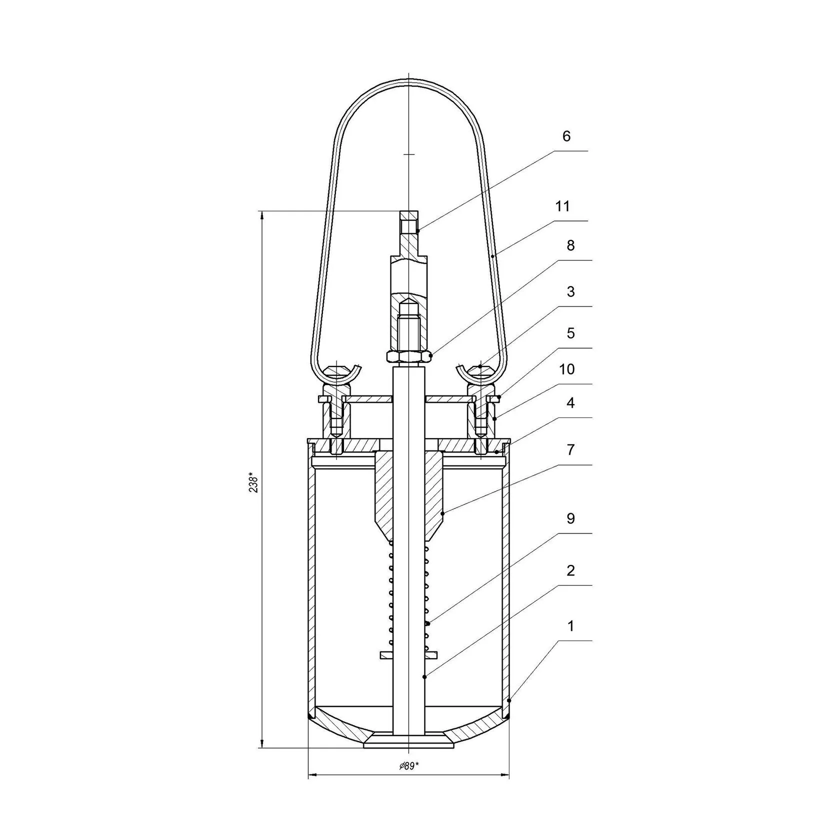
Пробоотборник погружной трубчатый контролируемый с клапаном ПТК — погружной трубчатый прибор для контролируемого отбора жидких сред. Обеспечивает репрезентативность пробы при отборе с заданной глубины. Конструкция исключает вторичное перемешивание, таким образом повышается аналитическая достоверность.

